![]() |
A P. 5548. feladat (2024. február) |
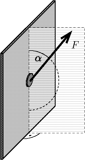
P. 5548. Egy kicsiny, lapos hűtőmágnes súlya \(\displaystyle G\). A mágnest a hűtőszekrény függőleges oldalára helyezzük, majd a fémlapra merőleges, függőleges síkban valamilyen irányba húzni kezdjük. A legkisebb erő, amivel meg tudjuk mozdítani a mágnest függőlegesen felfelé, \(\displaystyle F_1\), lefelé pedig \(\displaystyle F_2\).

\(\displaystyle a)\) Mekkora a mágnes és a hűtőszekrény oldala közötti tapadási súrlódási együttható?
\(\displaystyle b)\) Mekkora húzóerővel hat a fémlemez a mágnesre, amikor azt nem húzzuk semerre?
Adatok: \(\displaystyle G=0{,}10~\text{N}\), \(\displaystyle F_1=0{,}20~\text{N}\) és \(\displaystyle F_2=0{,}05~\text{N}\).
(Lásd még a G. 702. számú gyakorlatot a KöMaL 2020. évi 3. számában.)
Közli: Gnädig Péter, Vácduka
(5 pont)
A beküldési határidő 2024. március 18-án LEJÁRT.
Megoldás. Jelöljük az általunk a mágnesre kifejtett \(\displaystyle \boldsymbol F\) erőnek a függőlegessel bezárt szögét \(\displaystyle \alpha\)-val, a mágnes és a fémlemez közötti vonzóerőt \(\displaystyle N\)-nel, a súrlódási együtthatót pedig \(\displaystyle \mu\)-vel. (Érdemes használni a súrlódási határszög fogalmát is a \(\displaystyle \mu=\tg\varepsilon\) definíciónak megfelelően.)
Ha a mágnes éppen megindul felfelé (1. ábra), akkor a fémlemez által kifejtett \(\displaystyle \boldsymbol{K}\) kényszererő függőlegesen lefelé mutató komponense (a súrlódási erő) a vízszintes erőkomponens (a nyomóerő) \(\displaystyle \mu\)-szöröse, az erőegyensúly feltétele tehát
\(\displaystyle \mu(N-F\sin\alpha)+G=F\cos\alpha,\)
vagyis
| \(\displaystyle (1)\) | \(\displaystyle F(\cos\alpha+\mu\sin\alpha)=\mu N+G.\) |
A fenti egyenlet szerint adott \(\displaystyle N\), \(\displaystyle G\) és \(\displaystyle \mu\) mellett \(\displaystyle F\) az \(\displaystyle \alpha\) szögtől függő mennyiség, amelynek legkisebb értékét keressük. \(\displaystyle F(\alpha)\) annál az \(\displaystyle \alpha\) szögnél a legkisebb, amelynél az (1)-ben szereplő zárójeles kifejezés a legnagyobb. Mivel
\(\displaystyle \cos\alpha+\mu\sin\alpha=\cos\alpha+\frac{\sin\varepsilon}{\cos\varepsilon}\sin\alpha=\frac{\cos(\alpha-\varepsilon)}{\cos\varepsilon,}\)
\(\displaystyle F(\alpha)\) legkisebb értéke az \(\displaystyle \alpha=\varepsilon\) szöghöz tartozik, nagysága
| \(\displaystyle (2)\) | \(\displaystyle F_1=(\mu N+G)\cos\varepsilon=N\sin\varepsilon+G\cos\varepsilon=\frac{\mu N+G}{\sqrt{1+\mu^2}}.\) |
Megjegyzés. \(\displaystyle \cos\alpha+\mu\sin\alpha\) szélsőértékét differenciálszámítással is megkaphatjuk:
\(\displaystyle (\cos\alpha+\mu\sin\alpha)'=-\sin\alpha+\mu\cos\alpha=0,\)
vagyis \(\displaystyle \mu=\tg\varepsilon=\tg\alpha,\) azaz \(\displaystyle \alpha=\varepsilon,\) és a maximum nagysága
\(\displaystyle (\cos\alpha+\mu\sin\alpha)_\text{max.}=\cos\varepsilon+\frac{\sin^2\varepsilon}{\cos\varepsilon}=\frac{1}{\cos\varepsilon}.\)
\(\displaystyle \qquad\qquad\)
1. ábra\(\displaystyle \qquad\qquad\qquad\qquad\qquad\)2. ábra
Hasonló lépésekkel kaphatjuk meg, hogy a lefelé éppen meginduló mágnesre fennálló összefüggéseket is (2. ábra). Ha a külső \(\displaystyle \boldsymbol{F}\) erő ferdén lefelé, a függőlegessel \(\displaystyle \alpha\) szögben hat, akkor
\(\displaystyle \mu(N-F\sin\alpha) =F\cos\alpha+G,\)
vagyis
| \(\displaystyle (3)\) | \(\displaystyle F(\cos\alpha+\mu\sin\alpha)=\mu N-G.\) |
(Külső erő hiányában a mágnes nem csúszik le, tehát \(\displaystyle \mu N\ge G\), és így (3) jobb oldala nemnegatív.)
A (3)-ban szereplő \(\displaystyle F\) szélsőértéke ugyancsak \(\displaystyle \alpha=\varepsilon\)-nál lesz, és a minimum
| \(\displaystyle (4)\) | \(\displaystyle F_2=(\mu N-G)\cos\varepsilon=N\sin\varepsilon-G\cos\varepsilon=\frac{\mu N-G}{\sqrt{1+\mu^2}}.\) |
A továbbiak szempontjából fontos (2) és (4) összefüggéseket egyszerűbben, geometriai szerkesztéssel is megkaphatjuk. Tételezzük fel, hogy a mágnes felfelé indul el (3. ábra).

3. ábra
A testre négyféle erő hat: a fémlemez által kifejtett \(\displaystyle \boldsymbol{N}\) mágneses vonzóerő, a testre ható \(\displaystyle \boldsymbol{G}\) nehézségi erő, az általunk kifejtett \(\displaystyle \boldsymbol{F}\) erő és a lemez által kifejtett \(\displaystyle \boldsymbol{K}\) mechanikai kényszererő. Ez a négy erő (ha egymás után mérjük fel azokat) zárt vektorpoligont alkot, vektori összegük nulla. \(\displaystyle \boldsymbol{N}\)-et és \(\displaystyle \boldsymbol{G}\)-t ismertnek vehetjük (jóllehet \(\displaystyle N\) nagyságát majd csak később fogjuk megkapni), \(\displaystyle \boldsymbol{K}\)-nak csak az irányát tudjuk: a vízszintessel \(\displaystyle \varepsilon\) szöget zár be és ferdén lefelé mutat. Az általunk kifejtett \(\displaystyle \boldsymbol{F}\) erők közül azt az \(\displaystyle \boldsymbol{F}_1\)-et keressük, amelyiknek a nagysága (hossza) a legkisebb. Az ábráról leolvasható, hogy a minimumot akkor kapjuk, amikor \(\displaystyle \boldsymbol{F}=\boldsymbol{F}_1\) merőleges \(\displaystyle \boldsymbol{K}\)-ra, vagyis a hatásvonala a függőlegessel \(\displaystyle \varepsilon\) nagyságú szöget zár be. Látszik, hogy ilyenkor
\(\displaystyle F_1=N\sin\varepsilon+G\cos\varepsilon,\)
ami éppen a korábban megkapott (2) összefüggés.
Hasonló módon szerkeszthetjük meg a lefelé mozdításhoz szükséges legkisebb \(\displaystyle \boldsymbol{F}=\boldsymbol{F}_2\) erőt is (4. ábra).

4. ábra
A \(\displaystyle \boldsymbol{K}\) erő most ferdén felfelé mutat, a hatásvonala \(\displaystyle \varepsilon\) szöget zár be a vízszintessel. Az ábráról leolvashatjuk, hogy a legkisebb külső erő nagysága
\(\displaystyle F_2=N\sin\varepsilon-G\cos\varepsilon,\)
összhangban a korábban megkapott (4) összefüggéssel.
Visszatérve a feladat eredeti kérdéseihez, most már könnyen megadhatjuk a keresett \(\displaystyle N\) és \(\displaystyle \mu\) értékeket.
\(\displaystyle a)\) (2) és (4) különbségét képezve
\(\displaystyle F_1-F_2=2G\cos\varepsilon,\)
vagyis
\(\displaystyle \varepsilon=\arccos\frac{F_1-F_2}{2G}=\arccos\frac{0{,}20-0{,}05 }{2\cdot0{,}10}=\arccos 0{,}75=41{,}4^\circ,\)
\(\displaystyle \mu=\tg 41{,}4^\circ=0{,}88\approx 0{,}9.\)
\(\displaystyle b)\) (2) és (4) összegéből kapjuk:
\(\displaystyle N=\frac{F_1+F_2}{2\sin\varepsilon}\approx 0{,}19\,\mathrm{N}.\)
Statisztika:
35 dolgozat érkezett. 5 pontot kapott: Bencze Mátyás, Csiszár András, Csóka Péter, Czirják Márton Pál, Fajszi Karsa, Fehérvári Donát, Gyenes Károly, Hegedüs Márk, Kiss 131 Adorján Timon, Masa Barnabás, Seprődi Barnabás Bendegúz, Simon János Dániel, Sütő Áron, Szabó Donát, Tóth Hanga Katalin, Zólomy Csanád Zsolt. 4 pontot kapott: Molnár Ábel, Tóth Kolos Barnabás. 3 pontot kapott: 3 versenyző. 2 pontot kapott: 3 versenyző. 1 pontot kapott: 1 versenyző. 0 pontot kapott: 5 versenyző. Nem számítjuk a versenybe a születési dátum vagy a szülői nyilatkozat hiánya miatt: 1 dolgozat.
A KöMaL 2024. februári fizika feladatai

